Portada Noticias Productos Tests Vídeos Contacto Buscar
ESMTB.com - mountain bike
Madrid Segovia Madrid Segovia

SRAM patenta una caja de cambios automática e integrada con el motor de una e-bike

La reciente patente de SRAM vuelve a poner sobre la mesa el futuro de las transmisiones en e-MTB, con una clara apuesta por cajas de cambio integradas y una gestión conjunta entre motor y transmisión, una tecnología con grandes ventajas teóricas que aún no termina de consolidarse en el mercado.

Aunque las ventajas son claras, su implantación supone una revolución total en el diseño de la bicicleta para la que quizás aún no está listo el mercado

SRAM vuelve a situarse en el centro del debate tecnológico del MTB con la publicación de una nueva patente relacionada con las cajas de cambio integradas para e-bikes. No se trata de un anuncio de producto ni de una confirmación comercial, pero sí de una señal clara de hacia dónde están mirando las grandes marcas en el desarrollo futuro de la e-MTB: sistemas cada vez más integrados, inteligentes y diseñados como un todo, no como una suma de componentes independientes.

Las cajas de cambio integradas llevan tiempo señaladas como una posible evolución natural del MTB, especialmente en disciplinas gravity y en el ámbito de las e-bikes, precisamente cuando este tipo de bicicletas está actuando como principal motor del mercado. Sin embargo, la expansión que muchos anticipaban todavía no se ha producido. En parte, porque a día de hoy ninguna de las grandes marcas del sector dispone de una solución comercial plenamente consolidada. Aun así, el movimiento de fondo es claro: los principales actores de la industria están invirtiendo recursos en investigar y proteger este tipo de tecnologías, conscientes de que pueden jugar un papel clave en el futuro del MTB.

Continúa tras los patrocinadores



Un paso más en la carrera por la caja de cambios integrada

La e-MTB es el terreno natural para las cajas de cambio integradas

La patente registrada por SRAM se enmarca en una tendencia que lleva años creciendo de forma silenciosa. Cada vez más fabricantes exploran alternativas a la transmisión convencional con cambio trasero y cassette, especialmente en bicicletas eléctricas, donde el aumento de peso y complejidad se compensa con las ventajas funcionales.Fox y Shimano también cuentab con patentes al respecto.

Las cajas de cambio integradas prometen menor mantenimiento, mayor fiabilidad, mejor protección frente a golpes y suciedad y una gestión más eficiente de la potencia. Sobre el papel, el concepto resulta especialmente atractivo en e-bikes, donde la transmisión ya trabaja bajo mayores cargas y donde la electrónica permite optimizar su funcionamiento.

Sin embargo, pese a estas ventajas teóricas, la adopción real de este tipo de soluciones sigue siendo limitada. El mercado avanza, pero lo hace con cautela.

Simulación de la patente SRAM

Qué es exactamente lo que ha patentado SRAM

Más allá del mensaje conceptual, la patente de SRAM describe con bastante detalle un sistema concreto. No se limita a proteger una idea genérica, sino que define tanto una arquitectura mecánica como un esquema de control electrónico.

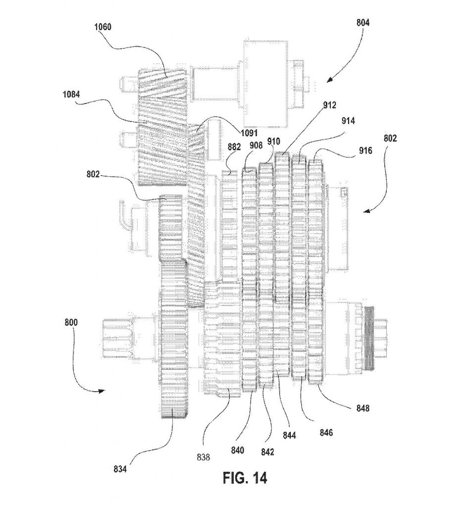
Por un lado, la documentación muestra una unidad de transmisión multivelocidad integrada en la zona del pedalier de una e-bike. En ese conjunto se agrupan el motor eléctrico, una caja de cambios interna con varias relaciones y los elementos necesarios para transmitir el par a la rueda trasera. Todo el sistema queda encapsulado en una carcasa, eliminando la exposición de engranajes y mecanismos al exterior.

Simulación de la patente SRAM

SRAM patenta una transmisión interna multivelocidad integrada en el motor… y automática

En el interior de esa unidad aparece un tren de engranajes apilados, típico de una caja de cambios interna, junto con mecanismos de acoplamiento e indexado que permiten seleccionar distintas relaciones. La patente entra incluso en el detalle de algunos elementos de engrane, como palancas internas, dientes y trinquetes diseñados para gestionar el acoplamiento del par dentro de un sistema cerrado.

Pero uno de los aspectos más relevantes no es solo mecánico, sino electrónico. La patente describe un sistema de control en el que intervienen múltiples sensores: velocidad de la rueda, potencia de entrada del ciclista y potencia de salida hacia la transmisión. Todos esos datos llegan a una unidad de control que gestiona tanto el motor como el sistema de cambio.

Ese controlador puede decidir cómo y cuándo cambiar de relación, y cómo modular la asistencia eléctrica en función de lo que está ocurriendo realmente en la transmisión y en la rueda, no solo de la cadencia o del par aplicado en los pedales.

Tabla de desarrollos descrita en la patente

Transmisión y motor como un único sistema

El futuro pasa por sistemas que deciden cómo gestionar la potencia

Este enfoque deja claro que SRAM no está pensando la caja de cambios como un elemento aislado. La patente plantea la e-bike como un sistema completamente integrado, en el que motor, transmisión y electrónica trabajan de forma coordinada.

En este escenario, el cambio deja de ser una acción puramente manual del ciclista para convertirse en una decisión compartida con el sistema. La bicicleta puede anticipar cambios, reducir carga en el momento adecuado o priorizar eficiencia, tracción o consumo de batería según el contexto.

Este planteamiento encaja con la evolución general de la e-MTB, cada vez más orientada a soluciones inteligentes y menos dependientes de la intervención constante del usuario.

Engranajes

Una tecnología con ventajas claras que sigue sin despegar

La teoría es sólida, pero el mercado sigue siendo prudente

A pesar de todo, la historia reciente demuestra que las cajas de cambio integradas no lo tienen fácil. El aumento de peso, el coste, la complejidad técnica y las sensaciones de pedaleo diferentes a las transmisiones tradicionales siguen siendo frenos importantes para su adopción masiva.

En las e-bikes, parte de estos inconvenientes se diluyen, pero no desaparecen por completo. Por eso, incluso con el respaldo de grandes marcas y con ventajas claras sobre el papel, este tipo de soluciones avanzan más despacio de lo que muchos anticipaban.

Además, sigue existiendo cierto miedo a que el mercado esté listo para una revolución de este tipo, que implicaría un rediseño casi completo de la bicicleta. Otro freno a su posible adopción masiva.

Lo que implica este movimiento de SRAM

Como siempre… una patente no es sinónimo de producto final

Que SRAM esté registrando patentes de este tipo no significa que vayamos a ver mañana una e-MTB con caja de cambios integrada firmada por la marca. Pero sí indica que uno de los actores clave del sector considera esta vía como estratégica a medio y largo plazo.

La integración total de transmisión, motor y control electrónico parece un destino lógico para la e-MTB. La patente de SRAM es un paso más en esa dirección, una pieza más de un puzle tecnológico que todavía no termina de encajar del todo, pero cuyo rumbo es cada vez más evidente.

Te puede interesar